联系人:武经理
手机:13933744225
金彩汇电话: 0319-4786765
传真: 0319-4845306
邮箱: 776150030@qq.com
网址:djznzs.com
金彩汇地址:河北省邢台市新河县城北工业区
双向转动铸铁闸门是一种高水头闸门,往往被用于水库、河堤、大坝底部水面以下的孔洞,与水平面不大于30°,用来调节水流,因此也被称为双向转动水库铸铁闸门、水利农田灌溉闸门等,其结构图、原理图如下。

一、双向转动铸铁闸门原理图

双向转动铸铁闸门工作原理:它通常以手动/电动卷扬机做为启闭站的动力,来拉动位于水面下的转动闸,来开启关闭闸门,比如在需要水库放水灌溉时,操作岸上的卷扬启闭机机,转动闸门,打开闸门,当需要关闭闸门时则反向操作即可。
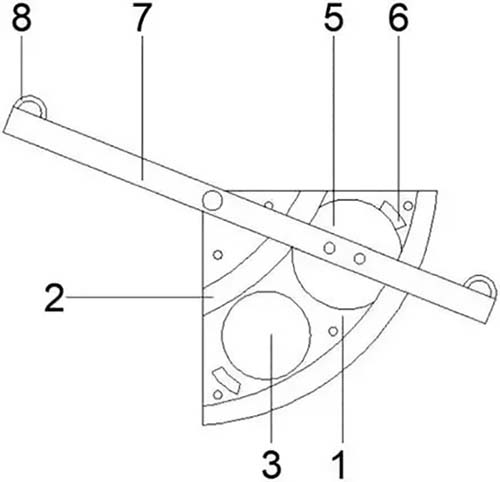
二、双向转动铸铁闸门结构图

金彩汇 双向转动闸门结构组件:主要由门框、闸板、导轨、密封条、传动螺杆、吊块螺母/吊耳和可调整密封机构等部件组成,其中门框和闸板均由灰口铸铁或球墨铸铁制成,导轨左右对称布置,且用不锈钢螺栓定位销与门框二侧端部连接(对中小口径的闸门,其导轨可与门框浇注成一体), 导轨长度一般为闸门全开启高度的1/2~1/3, 因而整体结构强度高、刚性高、耐磨、耐腐蚀性好、承压能力大。
总结:
以上就是关于双向转动铸铁闸门的原理图和结构图的内容了,双转动闸门多用于水库和水利灌溉,因此也常常被称为水库闸门或水利灌溉闸门,此种类型的闸门具有重量轻、耐腐蚀好,耐酸碱及耐大部分腐蚀性化学品及污水、海水等,同时具有密封性优良,力矩小,等特点,常常的型号有#200、#300、#400、#500、#600、#800等,配型的启闭机通常在1T到3T之间。